YAGEO Tantalum-Nitride AEC-Q200 NT Series Resistors
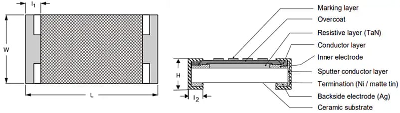
YAGEO Tantalum-Nitride (TaN) AEC-Q200 NT Series Resistors are ideal for automotive electronics, industrial/medical equipment, and test and measurement applications. These resistors feature superior resistance against sulfur-containing surroundings and high-heat performance, ensuring long-term reliability. A high-grade ceramic body makes up these resistors, as well as internal metal electrodes that are added at each end connected by a resistive layer. The resistive layers are trimmed to their nominal value, and on both ends, a contact is made, ensuring optimum solderability. YAGEO TaN AEC-Q200 Resistors offer an operating temperature range of -55°C to +155°C.Features
- AEC-Q200 qualified
- Superior resistance against sulfur-containing surroundings
- Lead free without exemption
- Halogen-free epoxy
- Environmental hazards reduction
- Non-forbidden materials used in products
Applications
- Automotive electronics
- Industrial and medical equipment
- Test and measuring equipment
- Telecommunications
Specifications
- 0402, 0603, 0805, and 1206 sizes
- ±0.1% tolerance
- High-grade ceramic body
- 75V to 200V maximum working voltage
- -55°C to +155°C operating temperature range
Videos
Package Outline
Reliability Comparison
發佈日期: 2024-03-04
| 更新日期: 2025-10-31
