特點
- FMCW收發器
- 集成鎖相環、發射器、接收器、基帶及A2D
- 具備4GHz連續頻寬的60至64GHz覆蓋範圍
- 四個接收通道
- 三個發射通道
- 支持用於TX波束形成的6位相位轉換器
- 基於分數N鎖相環的超精確啁啾引擎
- 12dBm TX功率
- 12dB RX雜訊指數
- 1MHz時為–93dBc/Hz相位雜訊
- 內建校準和自檢
- 基於ARM® Cortex®-R4F的射頻控制系統
- 內建韌體(ROM)
- 頻率和溫度的自校準系統
- 用於進階訊號處理的C674 x DSP(僅限IWR6843)
- 用於FFT、濾波及CFAR處理的硬體加速器
- 記憶體壓縮
- 用於物體偵測及介面控制的ARM-R4F微控制器
- 支持自主模式(從QSPI閃存加載用戶應用)
- 具備ECC的內部記憶體
- IWR6843 - 1.75MB,分為MSS程式RAM (512 KB)、MSS資料RAM (192 KB)、DSP L1 RAM (64 KB)及L2 RAM (256 KB)及L3雷達資料立方體RAM (768 kB)
- IWR 6443 - 1.4MB,分為MSS程式RAM (512 KB)、MSS資料RAM (192 KB)及L3雷達資料立方體 RAM (768 kB)
- 技術參考手冊包括允許的尺寸修改
- 可用於用戶應用的其他介面
- 高達6個ADC通道(低取樣率監控)
- 多達2個SPI連接埠
- 多達2個URAT
- 1個CAN-FD介面
- I2C
- 通用型輸入輸出接口
- 用於原始ADC數據和調試儀器的2路LVDS接口
- 功能安全兼容目標
- 專為功能安全應用而開發
- 提供用於輔助IEC 61508功能安全系統設計的文件
- 硬體完整性高達SIL-2目標
- 安全相關認證
- TUV Sud計劃的IEC 61508認證
- 電源管理
- 適用於增強型PSRR的內建LDO網絡
- I/O支持雙電壓3.3V/1.8V
- 時鐘源
- 40.0MHz晶體(內置振蕩器)
- 支持40MHz時的外部振盪器
- 支持40MHz時的外部驅動時鐘(方波/正弦波)
- 簡單硬件設計
- 0.65mm間距、161-引腳10.4mm × 10.4mm倒裝晶片BGA封裝,易於組裝及低成本PCB設計
- 溶液體積細小
- 運行條件
- 結溫範圍–40ºC至+105ºC
應用
- 用於測量範圍、速度和角度的工業感應器
- 建築自動化
- 位移感測
- 手勢識別
- 機械人
- 交通監測
- 接近及位置感測
- 安全和監控
- 工廠自動化防護裝置
- 人數統計
- 運動偵測
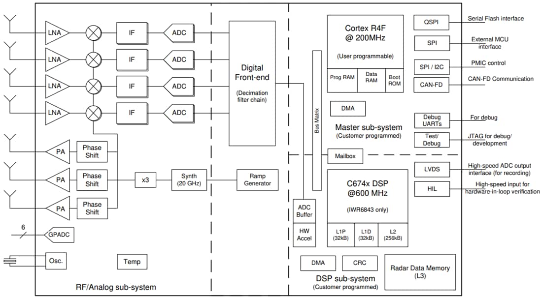
功能方塊圖
發佈日期: 2019-11-06
| 更新日期: 2024-09-16

